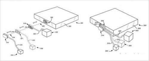
美國專利和商標局周二公布了蘋果公司取得一項新專利,名稱為“可堆疊磁保持連接器接口”,美國專利號9300083。這項專利描述了兩個或兩個以上外圍設備插頭可以垂直堆疊的方法,其中一種方法是一個插頭堆疊在另外一個插頭之上,另外一種方法是一個圓形單一表面放置多個插頭。這兩個實施方案包括對齊,匹配和固定過程,附件或附件電纜沒有采用通常的彈簧式夾子,叉子或其他形式物理連接,而是采用磁性保持機制。
在這項專利當中,蘋果提出了多種連接器本體設計方案,包括內置閃電接口的設計選項。其一個版本看起來像蘋果智能手表的磁性充電電纜,但是內建了一組三個智能連接器而不是通常的感應充電器硬件。另外一個版本是同心環布局,這種設計曾經出現在蘋果無線充電技術專利當中。
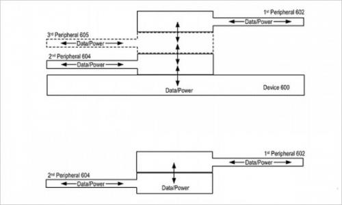
根據蘋果專利描述,當磁性連接器與一個主機設備配對之后,外設可以直接連接主機或通過堆疊方式連接,外設發送通知給主機板載檢測電路,一個正向連接正在建立。所述信號也將提供關于插頭方向的信息,確保電源和數據正確布線。該控制過程是由主機設備上的路由電路和一個或多個微控制器來管理。
比如,一個耳機與一個主機連接,匹配成功之后,耳機會發送信號請求供電和提供音頻數據。同樣,AC/DC適配器連接之后,將發送信號告示主機可以從額外的電源當中給主機充電。蘋果公司表示,眾多外圍設備都可以使用這種可堆疊架構,包括電池組,鍵盤,外部存儲單元等等。




鐘小姐
